# 资金安全,是外汇交易的生命线,而出入金的速度,则是这条生命线的脉搏。正常我们都知道平台的出金时间大概3-7个工作日,而这资金划转的合理周期,一旦超过这个时间都会怀疑为什么?为什么我的出金那么慢。福瑞斯
近日,有用户向斑马投诉反馈了关于“福瑞斯”平台的出金延迟问题。
# 据用户A某(化名)反映,其经历了如下情况:
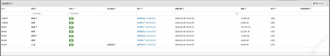
A某表示,其是福瑞斯平台的交易者,在该平台开户入金交易的,我的账户号是 581501391,我在 2026 年 2 月 5 日入金 9000 美金进行交易,交易黄金等商品,恰逢大行情,我账户实现了盈利22000多美金。
A某表示,账户交易完全合规合法,自己盈利后申请了三笔出金分别:9000美金,22297美金,3000美金,而申请后,资金迟迟未到账。联系平台客服称“审核”于是也冻结了我的交易权限,审核了一个月了该笔资金仍未到账。
A某表示,期间多次联系客服,问题均未得到解决。我的资金一直无法提取,交易记录已上传,各类凭证已上传,希望尽快给其出金到账。


(A某提供的交易截图已授权)

(A某提供的沟通截图已授权)
针对上述投诉,斑马投诉已第一时间将相关信息反馈给福瑞斯平台,平台方回复如下:目前客户已经提交了资料,账户正在审核中呢。待审核完成后方可出金呢。
我也特意看了一下第三方软件“海投”的数据,福瑞斯平台目前排名876,成立19年,手里拿着3个金融监管牌照。当然,评分数据只是仅供参考。

外汇交易,资金安全是底线。俗话说,一手交钱一手交货,投资者合规交易赚了钱,把钱取出来天经地义。虽然平台有合规审核的权力,监管也是必要的,但任何审核都不应该无限期拖延,更不该成为资金“只进不出”的理由。一个月的等待,换做是谁,心里都得打鼓,这不仅是效率问题,更是对投资者信心的考验。
还是那句老话,信任建立很难,摧毁却很容易。福瑞斯平台能尽快介入处理,别让这起普通的纠纷,成了投资者心里一道过不去的坎。毕竟,尊重用户,才是金融平台最大的合规。
免责声明:本文内容仅供参考,不构成任何投资建议。本文基于用户A某的投诉进行报道,并不代表本平台立场。外汇交易存在风险,请谨慎投资。本文中使用的截图等素材,均已获得相关权利人的授权。









